中華黃頁網路電話簿
隔熱磚抗彎發明申請書

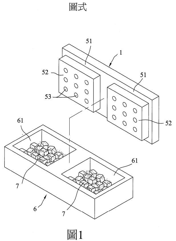
                                            發明摘要 ※ 申請案號:※ 申請日:                                 ※I P C 分類:【發明名稱】 抗彎地磚【中文】一種抗彎地磚,包含一個磚本體、數層上下間隔地埋設在該磚本體內的筋網層,及至少一層連接於該等筋網層間的補強層。每一層筋網層皆包括數支彼此間隔且分別沿著一條第一直線延伸的直桿條,及數支彼此間隔且分別沿著一條與該第一直線成角度之第二直線延伸的橫桿條。該補強層包括數支分別與上下相鄰之該等直桿條與該等橫桿條連接的連接條,該等連接條之延伸方向非平行於該第一直線及該第二直線。通過該等筋網層及該補強層的設置,可強化該磚本體之抗彎強度,以具有較佳的使用效果。【英文】 【代表圖】【本案指定代表圖】:圖( 3 )。【本代表圖之符號簡單說明】: 1 磚本體2 筋網層20 第一直線21 第二直線22 直桿條23 橫桿條 3 補強層31 連接條4 鋼筋骨架51 邊框部52 排水部 53 排水孔6 蓄水底座61 蓄水空間7 填充顆粒8 土壤層                                   【本案若有化學式時,請揭示最能顯示發明特徵的化學式】:                                         發明專利說明書                                                  (本說明書格式、順序,請勿任意更動) 【發明名稱】 抗彎地磚【技術領域】【0001】 本發明是有關於一種磚,特別是指一種具有排水功能的抗彎地磚。【先前技術】【0002】 一般馬路、人行道、停車場等車輛或人員進出的場所,通常會在土壤層的上方舖設水泥或是瀝青,然而由於水泥及瀝青具有防水功能,會將雨水阻隔於土壤層上方,如此一來,將會造成雨水排放不及,嚴重時還會造成局部地區積水,影響車輛或人員的進出。為了改善前述缺失,近年來許多原本舖設有水泥或瀝青的場所,紛紛改為舖設排水磚,俾讓雨水可以向下滲到土壤層內。【0003】 現有的排水磚主要是以黏土為主要原料燒製而成,而有的排水磚則是利用水泥模製而成,然而無論是以黏土燒結或是以水泥成型,其所製出排水磚結構的抗彎強度不甚理想,無法承受來自多方向的外力作用,往往會發生彎折或斷裂情況,使用壽命低,因此上述排水磚之設計仍有待改善。【發明內容】【0004】 因此,本發明之目的,即在提供一種具有良好之抗彎強度的抗彎地磚。【0005】 於是,本發明抗彎地磚,包含一個磚本體、數層上下間隔地埋設在該磚本體內的筋網層,及至少一層埋設在該磚本體內且連接該等筋網層的補強層。每一層筋網層皆包括數支彼此間隔排列且分別沿著一條第一直線延伸的直桿條,及數支彼此間隔排列且分別沿著一條與該第一直線成角度之第二直線延伸的橫桿條,該等直桿條與該等橫桿條縱橫交錯設置。該補強層設置在該等筋網層中之兩相鄰筋網層間,並包括數支分別與上下相鄰之該等直桿條與該等橫桿條連接的連接條,該等連接條之延伸方向非平行於該第一直線及該第二直線。【圖式簡單說明】【0006】 本發明之其他的特徵及功效,將於參照圖式的實施方式中清楚地呈現,其中: 圖1是本發明抗彎地磚的一第一實施例的一立體圖 圖2是該第一實施例的一不完整的立體圖 圖3是該第一實施例之一局部剖面側視示意圖 圖4是本發明抗彎地磚的一第二實施例的一立體圖 圖5是該第二實施例之一局部剖面側視示意圖 圖6是本發明抗彎地磚的一第三實施例的                  一不完整的立體圖 圖7是該第三實施例之一局部剖面側視示意圖 圖8是本發明抗彎地磚的一第四實施例的                  一不完整的立體圖 圖9是該第四實施例之一局部剖面側視示意圖 【實施方式】【0007】 在本發明被詳細描述之前,應當注意在以下的說明內容中,類似的元件是以相同的編號來表示。【0008】 參閱圖1、圖2與圖3,本發明抗彎地磚之一第一實施例,就結構而言,該抗彎地磚包含一個磚本體1、數層筋網層2,及數層補強層3。【0009】 該磚本體1是由混凝土一體製成,當然還可以再添加一些其他材料或者也可以為其他材質,例如該磚本體1之材料具有漢白玉、白玻璃及混凝土,乃能呈現出白色的外觀,在此不再說明。 【0010】 該等筋網層2是上下間隔地平鋪埋設在該磚本體1內,每一層筋網層2皆包括數支彼此間隔排列且分別平行於一條第一直線20的直桿條22,及數支彼此間隔排列且分別平行於一條與該第一直線20成角度之第二直線21的橫桿條23。該等直桿條22與該等橫桿條23縱橫交錯設置,本第一實施例之該第一直線20與該第二直線21相互垂直。【0011】 該等補強層3分別埋設在該磚本體1內且連接該等筋網層2,每一層補強層3皆設置在該等筋網層2中之兩相鄰筋網層2間,並包括數支分別與上下相鄰之該等直桿條22與該等橫桿條23連接的連接條31。該等連接條31之延伸方向非平行於該第一直線20及該第二直線21。本第一實施例之每一層補強層3之該等連接條31彼此交錯設置,且分別為一支由上而下傾斜延伸的桿條。【0012】 須說明的是,該抗彎地磚在設置上,可以如三明治之夾層結構般,在每兩相鄰筋網層2間皆夾設有一層該補強層3,當然該等筋網層2及該等補強層3也可以跳序地排列設置,該等補強層3也可以只設置在須加強結構強度之處,而且該等筋網層2及該等補強層3的數量還可以視情況增減,例如該抗彎地磚也可以僅包含一層補強層3,故不以本實施例為限。【0013】 再者,該等直桿條22、該等橫桿條23與該等連接條31之材料可以為鋼絲、鋼筋或竹節鋼筋等金屬、高分子聚合物、玻璃纖維強化塑膠、或碳纖維,只要具有足夠的剛性強度即可。在本第一實施例中,該等直桿條22、該等橫桿條23與該等連接條31分別為一支鋼筋,且該等直桿條22、該等橫桿條23與該等連接條31之其中相鄰的兩支彼此點焊熔接在一起。當然在實施上也可以改變該等直桿條22、該等橫桿條23與該等連接條31的結合方式,使該等直桿條22、該等橫桿條23與該等連接條31之其中相鄰的兩支被綁繫在一起。【0014】 製造時,先將該等直桿條22、該等橫桿條23與該等連接條31,組接成一個由該等筋網層2及該等補強層3構成且具有預定形狀的鋼筋骨架4,再將該鋼筋骨架4放入一個中空的成型模具(圖未示)中,並將漿狀液態的混凝土灌注入該成型模具中,同時振動該成型模具使得混凝土密實,而後待該混凝土冷凝固後成為該磚本體1,即可打開該成型模具,以脫模取出該抗彎地磚。該抗彎地磚藉由該等直桿條22、該等橫桿條23與該等連接條31之延伸方向不同的設計,確可抵抗來自多方向的外力作用,提升整體的抗彎性能及抗壓性能。 【0015】 再就外形輪廓來看,該抗彎地磚包含兩個左右連接且分別為一個中空的水平板塊的邊框部51,及兩個分別同體連接於該邊框部51內且往下突伸的排水部52。該排水部52具有數個彼此間隔且上下貫通的排水孔53。當然在設計上,還可以增減該等邊框部51及該等排水部52的數量,例如該抗彎地磚僅包含一個邊框部51,及一個排水部52,在此不再詳細說明。【0016】 該抗彎地磚使用時,可與一個蓄水底座6及數個填充顆粒7搭配組裝。該蓄水底座6設置在一個土壤層8的上方,並界定出兩個相間隔之蓄水空間61。該等填充顆粒7分別擺放在該蓄水底座6之該等蓄水空間61內,可為具有保水功能之粒狀體,能防止該蓄水空間61積水而形成蚊蟲生長的環境。舖設時,先將該蓄水底座6架設在該土壤層8上,接著將該等填充顆粒7擺放入該蓄水底座6之該等蓄水空間61內,然後將該抗彎地磚之該等排水部52嵌卡入該等蓄水空間61,並使該等邊框部51靠置於該蓄水底座6頂面,即完成組裝作業。該等邊框部51的面積大小與該蓄水底座6配合,而該等排水部52的截面與該蓄水底座6之該等蓄水空間61配合,但該等排水部52凸出該等邊框部51的高度小於該等蓄水空間61的深度。 【0017】 當下雨時,雨水會經由該抗彎地磚之該等排水孔53往下滲透到該土壤層8內,當鄰近該抗彎地磚的土壤層8的含水量到達飽和時,雨水往該土壤層8流動的速度就會減緩,其中流到該蓄水底座6之蓄水空間61內的雨水就會被保留在該等填充顆粒7內,因此可以吸收大量的雨水,防止雨水聚積在路面而造成濕滑,同時也可以避免該蓄水空間61內蓄積雨水,造成蚊蟲孳生等環境衛生上的問題。該等填充顆粒7吸收的雨水,會在該土壤層8的水分飽和度逐漸下降的同時慢慢的釋放到該土壤層8內,或者於天晴時蒸散於大氣中,因而能改善使用環境。【0018】 參閱圖4及圖5,本發明抗彎地磚之一第二實施例之構造大致相同於第一實施例,不同之處在於︰本第二實施例之該抗彎地磚的外形輪廓不同,其包含兩個左右連接且分別為一個中空的水平板塊的邊框部51,及數個平行排列地分別連接於該等邊框部51內且往下突伸的排水部52。每一個邊框部51與該等排水部52相配合界定出數個彼此間隔且上下連通的排水孔53。當然在實施上,該抗彎地磚的外形輪廓還可以改變,不以本第二實施例為限。 【0019】 參閱圖6與圖7,本發明抗彎地磚之一第三實施例之構造大致相同於第一實施例,不同之處在於︰本第二實施例之每一層補強層3之該等連接條31彼此間隔設置,且分別為一支上下直立延伸的桿條,同樣能強化抗彎及抗壓能力。當然,本第三實施例也適用於該第二實施例,在此不再說明。【0020】 參閱圖8與圖9,本發明抗彎地磚之一第四實施例之構造大致相同於第一實施例,不同之處在於︰本第四實施例之每一層補強層3之該等連接條31彼此交錯設置,且分別為一支水平靠置在上下相鄰之該等筋網層2間的桿條,同樣能強化抗彎及抗壓能力。當然,本第四實施例也適用於該第二實施例,在此不再說明。 【0021】 綜上所述,本發明抗彎地磚在設計上,是令該等直桿條22、該等橫桿條23與該等連接條31之延伸方向不同,使得該抗彎地磚之各向結構更趨完整,故可抵抗來自多方向的外力作用,提升磚體結構之力學性能,可強化抗彎強度、抗壓強度、抗拉強度、抗扭強度及抗剪強度,具有良好的抗彎、抗壓能力,可防止該排水磚彎折或斷裂,並能延長使用壽命,相對增加使用排水磚之工程附加價值,故確實能達成本發明之目的。【0022】 惟以上所述者,僅為本發明之實施例而已,當不能以此限定本發明實施之範圍,即大凡依本發明申請專利範圍及專利說明書內容所作之簡單的等效變化與修飾,皆仍屬本發明專利涵蓋之範圍內。 【符號說明】【0023】 1·········· 磚本體 2·········· 筋網層 20········ 第一直線 21········ 第二直線 22········ 直桿條 23········ 橫桿條 3·········· 補強層 31    連接條 4·········· 鋼筋骨架 51········ 邊框部 52········ 排水部 53········ 排水孔 6·········· 蓄水底座 61········ 蓄水空間 7·········· 填充顆粒 8·········· 土壤層 【生物材料寄存】無國內寄存資訊【請依:寄存機構、日期、號碼順序註記】國外寄存資訊【請依:寄存國家、機構、日期、號碼順序註記】【序列表】(請換頁單獨記載) 無                                            申請專利範圍 1. 一種抗彎地磚,包含:一個磚本體;數層筋網層,上下間隔地埋設在該磚本體內,每一層筋網層皆包括數支彼此間隔排列且分別沿著一條第一直線延伸的直桿條,及數支彼此間隔排列且分別沿著一條與該第一直線成角度之第二直線延伸的橫桿條,該等直桿條與該等橫桿條縱橫交錯設置;及至少一層補強層,埋設在該磚本體內且連接該等筋網層,是設置在該等筋網層中之兩相鄰筋網層間,並包括數支分別與上下相鄰之該等直桿條與該等橫桿條連接的連接條,該等連接條之延伸方向非平行於該第一直線及該第二直線。2. 如請求項1所述的抗彎地磚,其中,該補強層之該等連接條彼此交錯設置,且分別為一支由上而下傾斜延伸的桿條。 3. 如請求項1所述的抗彎地磚,其中,該補強層之該等連接條彼此間隔設置,且分別為一支上下直立延伸的桿條。4. 如請求項1所述的抗彎地磚,其中,該補強層之該等連接條彼此交錯設置,且分別為一支平放靠置在上下相鄰之該等筋網層間的桿條。 5. 如請求項1至4中任一項所述的抗彎地磚,包含一個中空的邊框部,及一個同體連接於該邊框部內且往下突伸的排水部,該排水部具有數個彼此間隔且上下貫通的排水孔。6. 如請求項1至4中任一項所述的抗彎地磚,包含一個中空的邊框部,及數個平行排列地連接於該邊框部內且往下突伸的排水部,該邊框部與該等排水部相配合界定出數個彼此間隔且上下連通的排水孔。 7. 如請求項1所述的抗彎地磚,其中,該等直桿條、該等橫桿條與該等連接條之其中相鄰的兩支彼此熔接在一起。8. 如請求項1所述的抗彎地磚,其中,該等直桿條、該等橫桿條與該等連接條之其中相鄰的兩支被綁繫在一起。9. 如請求項1所述的抗彎地磚,其中,該磚本體之材料具有漢白玉、白玻璃及混凝土。 10. 如請求項1所述的抗彎地磚,其中,該等直桿條、該等橫桿條與該等連接條之材料為金屬、高分子聚合物、玻璃纖維強化塑膠、或碳纖維。

隔熱磚DM

高效能儲熱節能磚 最新產品–屋頂散熱系統 節能   環保     舒適 規格:40×40×4cm、30×30×4cm 色系:以白色為主,如需特殊顏色,可訂製生產   特色說明: 節能磚主要構成要素是以漢白玉、水泥、特殊隔熱材質所構成 本產品具隔熱、節能功效並能活化屋頂使屋頂使用更便利更人性化 本產品為專利認證產品 因有隔熱儲能功效,具有調節室內溫度,減少空調使用,增長空調使用年限,降低冷房使用均價   此產品經 崑山科技大學 育成中心 實驗證明 與市售類似產品比較能有效將室內溫度降低至當時大氣溫度左右

隔熱磚特色

最新產品–屋頂散熱系統                                            節能   環保   舒適規格:40×40×4cm、30×30×4cm色系:以白色為主,如需特殊顏色,可訂製生產特色說明:1. 節能磚主要構成要素是以漢白玉、水泥、特殊隔熱材質所構成2. 本產品有隔熱、防水、節能功效使屋頂生活空間更美觀大方3. 本產品為專利認證產品4. 因有隔熱儲能功效,具有調節室內溫度,減少空調使用,增長使用年限且易清洗此產品經 崑山科技大學 育成中心 實驗證明與市售類似產品比較能有效降低磚下溫度約8~12℃